Nous fabriquons une charrue à maïs à faire soi-même
Contenu
description générale
Une charrue à maïs est un appareil si utile avec un moteur électrique, qui aide le propriétaire à effectuer une grande quantité de travail sans fatigue physique et à y consacrer un minimum de temps. Il peut être de deux types : grand, dans lequel un seau est versé ou encore plus d'oreilles pour le traitement, ou petit, conçu pour une oreille.Le premier, d'une capacité de 1 sac, est capable de l'éplucher en 3 minutes, c'est-à-dire qu'en une heure un tel assistant mécanique est capable de traiter une demi-tonne de maïs.
Un petit cultivateur n'est pas conçu pour de tels volumes, il ne gère qu'une oreille à la fois - il est tenu à la main, inséré alternativement dans le trou de l'unité, d'abord avec une extrémité, puis avec l'autre extrémité. Bien sûr, vous ne pouvez pas éplucher une demi-tonne de la récolte - soit le moteur s'éteindra, soit la personne sera torturée pour rester debout infiniment longtemps, répétant la même action. Mais si la récolte n'est que de quelques sacs, il est toujours difficile de la faire avec les mains. Comment décortiquer le maïs est de plus en plus facile - pas besoin de réfléchir longtemps.
Chaque unité a généralement un trou ou même une goulotte pour retirer le grain nettoyé, mais les épis du grand tambour tombent de l'autre côté, pour lequel il y a un trou séparé, ou ils sont simplement retirés à la main.
Principe d'opération
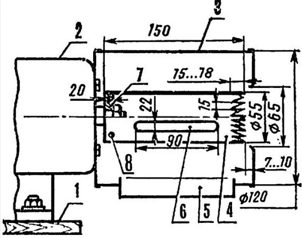
Chacun de ces assistants électromécaniques est équipé d'un moteur alimenté en électricité. Le moteur d'une grande unité fait tourner un disque avec des dents non acérées, le plus souvent ils sont soudés sous la forme d'excroissances rondes jusqu'à 8 mm de haut. Dans le même disque, des trous ronds sont faits pour les grains, une sorte de tamis avec des excroissances est obtenu.
En fonctionnement, le disque tourne rapidement (jusqu'à 50 tours par minute), les épis, écrasés par leur masse, battent et s'accrochent aux dents, les grains s'envolent. Les grains sont déversés par les trous, ainsi que les interstices entre le disque et la trémie dans le compartiment inférieur, d'où, sans accélération, obéissant simplement à la force de gravité, ils tombent dans le conteneur substitué à travers une goulotte spéciale. La même force de gravité et de force centrifuge fait tomber les nouvelles oreilles sur le disque de nettoyage et celles déjà nettoyées et plus légères se soulèvent. Lorsque le grain cesse de couler, cela signifie que seuls les épis vides et pelés restent dans la trémie. Certaines structures sont équipées d'un trou spécial, d'où elles tombent d'elles-mêmes.
Comment décortiquer le maïs avec une petite machine ? Le principe est le même, seulement au lieu d'un disque rotatif, il est équipé d'un tuyau avec des dents recourbées vers l'intérieur, les grains s'y accrochent, ce qui leur fait dire adieu à la tête de chou. Ils s'effondrent également et une oreille vide reste entre les mains d'une personne.
Le principe de fonctionnement des appareils est le même, seul l'agencement de l'élément de nettoyage dans le grand appareil est horizontal et dans le petit il est vertical.
La charrue à maïs n'est pas un mécanisme très complexe, elle ne consomme pas trop d'énergie - tout dépend de la puissance du moteur et de la quantité de travail. Mais il est indispensable pour traiter la récolte de ces fermes où le maïs est récolté spécifiquement pour nourrir le bétail.
Comment faire
De tels appareils de différentes capacités et de différents volumes peuvent être achetés. Ils sont en vente, leurs annonces se trouvent sur Internet. Mais la plupart des artisans préfèrent les fabriquer eux-mêmes. Une charrue à maïs à faire soi-même est fabriquée à partir de moyens improvisés. Les vieilles machines à laver avec un corps rond, les bouteilles de gaz usagées, les moteurs de certains vieux appareils, même une simple perceuse peuvent être utiles.
Pour fabriquer une telle machine, vous devez d'abord décider du volume de la récolte traitée, puis la trouver sur Internet, demander quelque part sur le forum ou dessiner vous-même un dessin.
Selon le dessin, vous devez récupérer tous les composants, outils et fixations dont vous pourriez avoir besoin. Ce n'est qu'alors que vous pouvez démarrer le processus de fabrication lui-même.
Chaque unité doit avoir une base solide et stable, une trémie constituée d'une machine à laver ou d'un cylindre, un tuyau en aluminium - une sorte de cylindre volumineux, y est attaché. Un démarreur magnétique avec un interrupteur à bascule pour allumer/éteindre le moteur est placé sur son mur. Le séparateur de grains est relié au rabat du plateau.
Pour la perte de grains, un disque est réalisé avec des trous d'un diamètre de 14 mm et soudé sur des dents arrondies d'une hauteur de 8 mm. Perpendiculairement au disque par le bas, 2 plaques de 2 cm sont soudées, et un grattoir en caoutchouc y est fixé, qui guidera les grains qui tombent. La bride est pressée sur l'arbre du moteur et un disque denté y est fixé. D'un côté de la trémie, un trou est fait au fond, un plateau est fixé le long duquel les grains tombent. Par contre, un trou est fait un peu plus haut à travers lequel les épis épuisés sont sélectionnés. Pour lui, vous devez fabriquer une porte à rabat et la fixer pour qu'elle ne s'ouvre pas spontanément pendant le fonctionnement.
D'en haut, la trémie doit être fermée, ce qui signifie qu'ils font un tel couvercle qui est facile à soulever, mais qui ne s'ouvrira pas lorsque le moteur tourne.
Vidéo "Charrue à maïs à faire soi-même"
Profitez de l'idée d'assembler un déchaumeur pour une séparation de qualité des grains de maïs de l'épi. Détails dans la vidéo.




